找回密码
 立即注册
澳门威尼斯人
U8
U18
海燕招商
A
蓝盾
e世博
islot.
申博亚洲
B
开云
腾博会
德信
C级广告商
吉祥坊
华体会
查看: 19223|回复: 68

[彩票] 【实战有奖】今天到腾博会玩了彩票赢了好几十

[复制链接]

1209

主题

3万

回帖

1万

金币

钻石用户

积分
115274

老会员交易勋章光影行者

发表于 2025-11-24 21:25 | 显示全部楼层 |阅读模式

马上注册,结交更多好友,享用更多功能,让你轻松玩转社区。

您需要 登录 才可以下载或查看,没有账号?立即注册

×
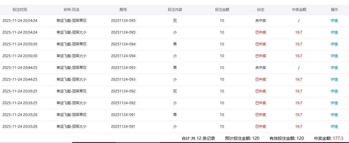
      今天到腾博会玩了一下彩票了啊。实在是一个好的运气了啊。今天就赢了不少的啊。也是非常的开心的啊。今天下注了120的流水,竟然是的了177的金额,所以我算是赢了57大洋的啊。实在是非常的好的啊。我也是很满意的啊。
" H; U& z: j: ?0 H
- p' z) N7 Q0 k  p' Z7 N- h      今天呢,我就是去玩了这个幸运飞艇的啊。也是玩的冠军的位置了啊。7 z: A2 H* q5 D4 S2 R: s. M3 P
      第一期下注的是大和单的一个方向了啊。每个下注了10元了 啊 。结果出来了。是小和单了啊。所以我的投注也是一红一黑了啊。。所以也是没有什么的啊。反正也是不输了啊。" {1 d* f! y/ H5 f% U! o9 }
      第2期了啊。我就是下注了小和单了啊。下注了10元一个的啊。结果呢,也是真的是很不错的啊。竟然是一个2红了啊这样我就赢了20了啊。实在是非常的不错的啊。5 M1 J# i3 Y- L5 u( x4 K  z
     第3期呢,我就是下注了小和双的啊。一共下注了20了 。结果出来,竟然是又对了啊。我又是一个2红了啊。我又盈利了20大洋了 这样就一共赢了40啦 。实在是很不错的啊。我也是很满意的啊。
# t! H- N4 C! N2 B' S: q     第4期开始,我就没有什么心理压力了 。我继续下注。我买小和单,每个10元。结果出来,是小双了。于是我就是又来了一个一红一黑的结果。反正就是平局,我是没有输的啊。4期下来,我还是赢了40了啊。
. ], [9 H% b6 h: t) \  A- ^     第5期呢,我去买小和单了。还是每个10元。这次运气又是很好的。我又是一个2红了 啊。于是我的盈利就来到了60了啊。是只是非常爽了啊。我实在是没有想到今天的路子就是按照我的思想来的啊。
$ e7 R0 l8 D0 J- V     因为打得比较顺,我就没有注意期数,没有注意流水。就继续搞了一期。第6期,我买了小和双的了。结果出来了,是小单。所以我的投注是一红一黑的啊。反正这把没有输。那么今天我下注了12手,中了9手,净胜6手,实在是很理想的一个结果了啊。
2 @0 L0 z- m$ q6 e! [6 J9 l     最终我的盈利是57元多,是因为有抽水的原因了啊。之所以能赢,归根结底,还是运气好。7 k3 B8 V# ~) r! [' ?
99.JPG 9 ~$ v8 g. F( I7 C0 ]7 p
回复

使用道具 举报

102

主题

6282

回帖

2399

金币

金牌会员

积分
20084

老会员

发表于 2025-11-24 21:30 | 显示全部楼层
楼主有收获的成绩比较理想了,期待有更好的发挥
回复 支持 反对

使用道具 举报

278

主题

1万

回帖

4231

金币

金牌会员

积分
33998

老会员光影行者

发表于 2025-11-25 05:11 | 显示全部楼层
只要是能够赢钱,都是比较高兴的,希望以后都能有个好的结果了。
回复 支持 反对

使用道具 举报

1436

主题

7万

回帖

7042

金币

海燕硕士

积分
206054

万时之王老会员精华勋章勤奋勋章交易勋章光影行者

发表于 2025-11-25 06:20 | 显示全部楼层
可以赢钱的结果真是太给力了,还是要多多祝贺一下楼主成功收米的了。
回复 支持 反对

使用道具 举报

1436

主题

7万

回帖

7042

金币

海燕硕士

积分
206054

万时之王老会员精华勋章勤奋勋章交易勋章光影行者

发表于 2025-11-25 06:21 | 显示全部楼层
易天一人 发表于 2025-11-24 21:30
# k6 }! i5 H! t2 f楼主有收获的成绩比较理想了,期待有更好的发挥
' ^& v# X7 ]& J8 B( D
还是非常理想的成绩,楼主是个很厉害的高手要跟着学习一下的。
回复 支持 反对

使用道具 举报

1436

主题

7万

回帖

7042

金币

海燕硕士

积分
206054

万时之王老会员精华勋章勤奋勋章交易勋章光影行者

发表于 2025-11-25 06:21 | 显示全部楼层
没牙的兔子 发表于 2025-11-25 05:11
! n& _, C2 R+ |只要是能够赢钱,都是比较高兴的,希望以后都能有个好的结果了。
' w: f- q, U* y0 d' ~' f- J
能够赢钱的结果确实是很高兴的,希望是可以保持住这样的好运气吧 。
回复 支持 反对

使用道具 举报

1209

主题

3万

回帖

1万

金币

钻石用户

积分
115274

老会员交易勋章光影行者

 楼主| 发表于 2025-11-25 06:47 来自手机 | 显示全部楼层
易天一人 发表于 2025-11-24 21:30
7 K" r! J; T6 _9 B楼主有收获的成绩比较理想了,期待有更好的发挥

8 ]  F3 z0 E/ V$ v' ^3 S; U今天的这个成绩的确是很不错的了,这也是感觉到运气很好的了
回复 支持 反对

使用道具 举报

1209

主题

3万

回帖

1万

金币

钻石用户

积分
115274

老会员交易勋章光影行者

 楼主| 发表于 2025-11-25 06:47 来自手机 | 显示全部楼层
没牙的兔子 发表于 2025-11-25 05:11
7 f* z( F  S9 U2 w  \+ b/ a! m只要是能够赢钱,都是比较高兴的,希望以后都能有个好的结果了。

" |4 i$ S$ C: h% j: k我们永远都是希望自己有一个好的结果的了,我们一定要加油的啦
回复 支持 反对

使用道具 举报

1209

主题

3万

回帖

1万

金币

钻石用户

积分
115274

老会员交易勋章光影行者

 楼主| 发表于 2025-11-25 06:47 来自手机 | 显示全部楼层
cwx1994 发表于 2025-11-25 06:20( e0 T# Y1 ?( t! O/ a$ k+ ^  k
可以赢钱的结果真是太给力了,还是要多多祝贺一下楼主成功收米的了。

) u8 Y& n/ n5 M' c7 W( p5 i! {# O这也不得不说是幸运的一件事情了,我们都是不断的努力之中的了
回复 支持 反对

使用道具 举报

1209

主题

3万

回帖

1万

金币

钻石用户

积分
115274

老会员交易勋章光影行者

 楼主| 发表于 2025-11-25 06:47 来自手机 | 显示全部楼层
cwx1994 发表于 2025-11-25 06:215 g% _; a4 m0 d3 U# g9 N
还是非常理想的成绩,楼主是个很厉害的高手要跟着学习一下的。

# G) r. x$ L$ K2 O8 p高手谈不上的啦,大家还是彼此互相的学习一下吧
回复 支持 反对

使用道具 举报

1209

主题

3万

回帖

1万

金币

钻石用户

积分
115274

老会员交易勋章光影行者

 楼主| 发表于 2025-11-25 06:47 来自手机 | 显示全部楼层
cwx1994 发表于 2025-11-25 06:21# N: E3 R- i  M0 {/ D: U
能够赢钱的结果确实是很高兴的,希望是可以保持住这样的好运气吧 。
+ M0 E4 S" \) ~& v+ f: l+ J
希望是可以保持的啦,不过我们心里也是要做好其他的思想准备的啦
回复 支持 反对

使用道具 举报

2196

主题

7万

回帖

5607

金币

海燕硕士

积分
204948

老会员超级精华精华勋章美女勋章勤奋勋章交易勋章万时之王

发表于 2025-11-25 07:35 | 显示全部楼层
能够赚个几十块钱以上很好的了玩游戏嘛都喜欢赚钱的钱
回复 支持 反对

使用道具 举报

2196

主题

7万

回帖

5607

金币

海燕硕士

积分
204948

老会员超级精华精华勋章美女勋章勤奋勋章交易勋章万时之王

发表于 2025-11-25 07:35 | 显示全部楼层
猴哥打野 发表于 2025-11-25 06:47  D0 A1 z# c1 j' i% a
希望是可以保持的啦,不过我们心里也是要做好其他的思想准备的啦

7 _8 E' ~+ x1 a3 G想要保持下去不是那么容易的事,我们也是希望有个好运
回复 支持 反对

使用道具 举报

2196

主题

7万

回帖

5607

金币

海燕硕士

积分
204948

老会员超级精华精华勋章美女勋章勤奋勋章交易勋章万时之王

发表于 2025-11-25 07:35 | 显示全部楼层
cwx1994 发表于 2025-11-25 06:21
* E9 n: q) h5 E7 p7 Y9 x. l" y( B% ]' N还是非常理想的成绩,楼主是个很厉害的高手要跟着学习一下的。
  G# A+ O9 M& g' i& @% q
这次比较明显的话,要保持一下才能玩的长久呀
回复 支持 反对

使用道具 举报

1813

主题

5万

回帖

5477

金币

钻石用户

积分
172349

万时之王老会员勤奋勋章交易勋章

发表于 2025-11-25 07:57 | 显示全部楼层
没牙的兔子 发表于 2025-11-25 05:115 Z+ J# U" z2 _* @* d5 Q' O( @! I2 d
只要是能够赢钱,都是比较高兴的,希望以后都能有个好的结果了。
' \$ C) [( U- X; z' l% F  G, l
这样的收入那是真的非常高兴的但是以后什么结果这个不好说的
0 K) X( v$ e! Z# b4 L2 Q4 q- B
回复 支持 反对

使用道具 举报

您需要登录后才可以回帖 登录 | 立即注册

本版积分规则

广告合作|评测有奖|福利汇|论坛简介|钱包合集|手机版|小黑屋|Archiver|彩票开奖|海燕论坛

快速回复 返回顶部 返回列表